340 N. Milburn Rd.
,
Fairview, UT
84629
Get Financed Now
(435) 427-3338
Toggle navigation
Fairview, UT
Home
Inventory
In-Stock Inventory
Pre-Owned Inventory
Manufacturer Models
Can-Am
Ski-Doo
Lynx
Kawasaki
Yamaha
CFMOTO
Segway
Vanderhall
Trailers
Bicycles
OEM Promotions
Value Your Trade
Shopping
Shop At Big Pine
Catalogs
Ruthless Motor Sports
Shopping Cart
Parts Fiche
Services
Service Department
Parts Department
Secure Financing
Specials
Rentals
Dealer Info
About Us
Our Staff
Map & Hours
Photo Gallery
Customer Survey
Testimonials
Employment
Links
SxS Give-Away
Calender
Contact Us
Events
Parts Fiche
Home
›
Shopping
›
Parts Fiche
Search by :
Part / Desc
VIN
Please Select
Can-Am
Kawasaki
Ski-Doo
Yamaha
*Please enter at least 3 characters
SEARCH
Manufacturer
Yamaha
ATVs
2024
RAPTOR 700R SE CAL (YFM70RCCRD)
VIEW WISH LIST
Select a Section
Show/Hide
2 MAINTENANCE PARTS KIT
ALTERNATE_FOOTREST
ALTERNATE_GUARD
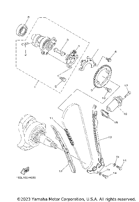
CAMSHAFT & CHAIN
CLUTCH
CRANKCASE
CRANKCASE COVER 1
CRANKSHAFT & PISTON
CYLINDER
CYLINDER HEAD
ELECTRICAL 1
ELECTRICAL 2
EMBLEM & LABEL 1
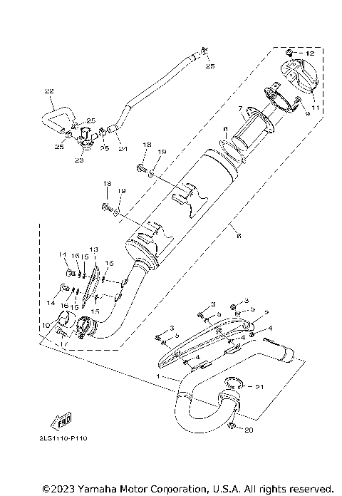
EXHAUST
FRAME
FRONT BRAKE CALIPER
FRONT FENDER
FRONT MASTER CYLINDER
FRONT SUSPENSION & WHEEL
FRONT WHEEL
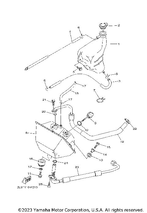
FUEL TANK
FUEL TANK 2
GENERATOR
GRAPHICS
GUARD
HANDLE SWITCH & LEVER
HEADLIGHT
INTAKE
OIL PUMP
OIL TANK
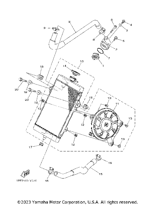
RADIATOR & HOSE
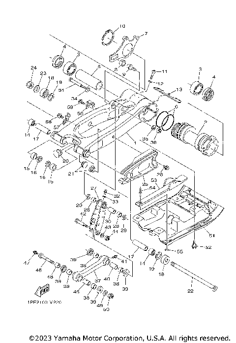
REAR ARM
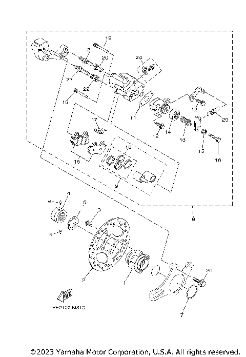
REAR BRAKE CALIPER
REAR FENDER
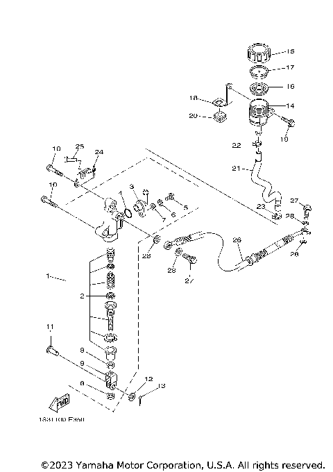
REAR MASTER CYLINDER
REAR SUSPENSION
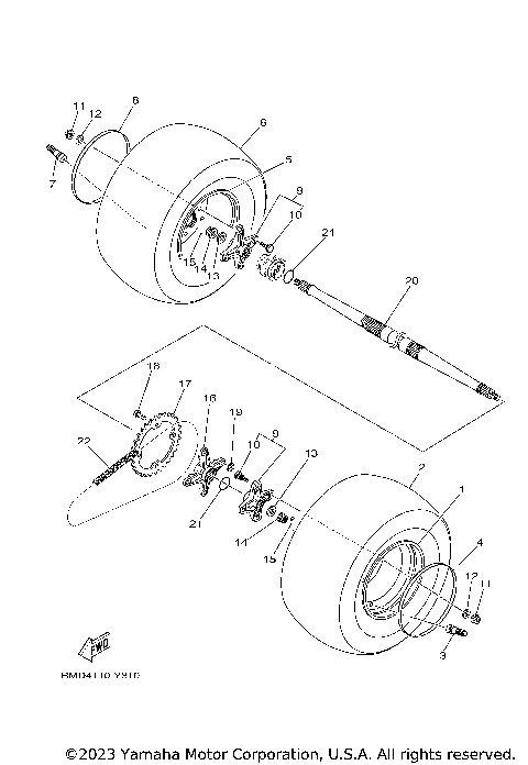
REAR WHEEL
SEAT
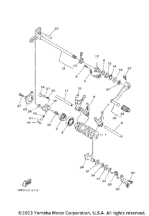
SHIFT CAM & FORK
STAND & FOOTREST
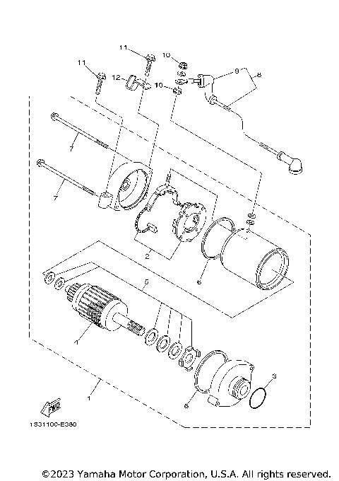
STARTER
STARTING MOTOR
STEERING
STEERING HANDLE & CABLE
TAILLIGHT
THROTTLE BODY ASSY 1
TRANSMISSION
VALVE
WATER PUMP
2 MAINTENANCE PARTS KIT
ALTERNATE_FOOTREST
ALTERNATE_GUARD
CAMSHAFT & CHAIN
CLUTCH
CRANKCASE
CRANKCASE COVER 1
CRANKSHAFT & PISTON
CYLINDER
CYLINDER HEAD
ELECTRICAL 1
ELECTRICAL 2
EMBLEM & LABEL 1
EXHAUST
FRAME
FRONT BRAKE CALIPER
FRONT FENDER
FRONT MASTER CYLINDER
FRONT SUSPENSION & WHEEL
FRONT WHEEL
FUEL TANK
FUEL TANK 2
GENERATOR
GRAPHICS
GUARD
HANDLE SWITCH & LEVER
HEADLIGHT
INTAKE
OIL PUMP
OIL TANK
RADIATOR & HOSE
REAR ARM
REAR BRAKE CALIPER
REAR FENDER
REAR MASTER CYLINDER
REAR SUSPENSION
REAR WHEEL
SEAT
SHIFT CAM & FORK
STAND & FOOTREST
STARTER
STARTING MOTOR
STEERING
STEERING HANDLE & CABLE
TAILLIGHT
THROTTLE BODY ASSY 1
TRANSMISSION
VALVE
WATER PUMP
VIEW WISH LIST