340 N. Milburn Rd.
,
Fairview, UT
84629
Get Financed Now
(435) 427-3338
Toggle navigation
Fairview, UT
Home
Inventory
In-Stock Inventory
Pre-Owned Inventory
Manufacturer Models
Can-Am
Ski-Doo
Lynx
Kawasaki
Yamaha
CFMOTO
Segway
Vanderhall
Trailers
Bicycles
OEM Promotions
Value Your Trade
Shopping
Shop At Big Pine
Catalogs
Ruthless Motor Sports
Shopping Cart
Parts Fiche
Services
Service Department
Parts Department
Secure Financing
Specials
Rentals
Dealer Info
About Us
Our Staff
Map & Hours
Photo Gallery
Customer Survey
Testimonials
Employment
Links
SxS Give-Away
Calender
Contact Us
Events
Parts Fiche
Home
›
Shopping
›
Parts Fiche
Search by :
Part / Desc
VIN
Please Select
Can-Am
Kawasaki
Ski-Doo
Yamaha
*Please enter at least 3 characters
SEARCH
Manufacturer
Ski-doo
Snowmobiles
2012
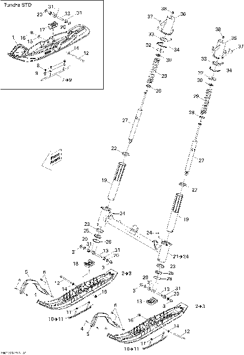
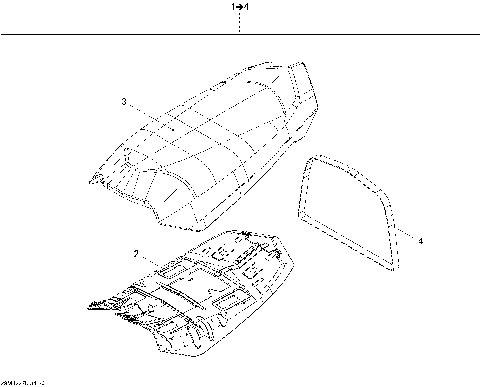
Tundra STD & Sport & LT 550F XP-LTS
VIEW WISH LIST
Select a Section
Show/Hide
00- Model Numbers
01- Cooling System
01- Crankcase
01- Crankshaft And Pistons
01- Cylinder, Exhaust Manifold And Reed Valve
01- Engine Sport, LT
01- Engine STD
01- Exhaust System
01- Fan And Cylinder Cowls
02- Air Intake System
02- Carburetor
02- Fuel System
02- Oil Pump
02- Oil System
03- Magneto
04- Electric Starter
04- Rewind Starter
05- Drive System
05- Pulley System
06- Hydraulic Brakes
07- Front Suspension And Ski
07- Steering
08- Rear Suspension Base 137, Front Arm
08- Rear Suspension LT Base, Arm
08- Rear Suspension Rear Arm (LT)
08- Rear Suspension Rear Arm(STD,Sport)
09- Bottom Pan
09- Decals LT
09- Decals Sport
09- Decals STD
09- Frame 137" (STD, Sport)
09- Frame Common Parts
09- Frame E Module
09- Frame LT 154"
09- Hood, Windshield And Console
09- Luggage Rack LT
09- Luggage Rack Sport
09- Seat Sport & LT
09- Seat STD
09- Utilities LT
09- Utilities Sport
09- Utilities STD
10- Battery And Starter
10- Electrical Accessories, Steering SPORT, LT
10- Electrical Accessories, Steering STD
10- Electrical Harness SPORT, LT
10- Electrical Harness STD
10- Electrical System
10- Steering Wiring Harness Sport, LT
10- Steering Wiring Harness STD
00- Model Numbers
01- Cooling System
01- Crankcase
01- Crankshaft And Pistons
01- Cylinder, Exhaust Manifold And Reed Valve
01- Engine Sport, LT
01- Engine STD
01- Exhaust System
01- Fan And Cylinder Cowls
02- Air Intake System
02- Carburetor
02- Fuel System
02- Oil Pump
02- Oil System
03- Magneto
04- Electric Starter
04- Rewind Starter
05- Drive System
05- Pulley System
06- Hydraulic Brakes
07- Front Suspension And Ski
07- Steering
08- Rear Suspension Base 137, Front Arm
08- Rear Suspension LT Base, Arm
08- Rear Suspension Rear Arm (LT)
08- Rear Suspension Rear Arm(STD,Sport)
09- Bottom Pan
09- Decals LT
09- Decals Sport
09- Decals STD
09- Frame 137" (STD, Sport)
09- Frame Common Parts
09- Frame E Module
09- Frame LT 154"
09- Hood, Windshield And Console
09- Luggage Rack LT
09- Luggage Rack Sport
09- Seat Sport & LT
09- Seat STD
09- Utilities LT
09- Utilities Sport
09- Utilities STD
10- Battery And Starter
10- Electrical Accessories, Steering SPORT, LT
10- Electrical Accessories, Steering STD
10- Electrical Harness SPORT, LT
10- Electrical Harness STD
10- Electrical System
10- Steering Wiring Harness Sport, LT
10- Steering Wiring Harness STD
VIEW WISH LIST