340 N. Milburn Rd.
,
Fairview, UT
84629
Get Financed Now
(435) 427-3338
Toggle navigation
Fairview, UT
Home
Inventory
In-Stock Inventory
Pre-Owned Inventory
Manufacturer Models
Can-Am
Ski-Doo
Lynx
Kawasaki
Yamaha
CFMOTO
Segway
Vanderhall
Trailers
Bicycles
OEM Promotions
Value Your Trade
Shopping
Shop At Big Pine
Catalogs
Ruthless Motor Sports
Shopping Cart
Parts Fiche
Services
Service Department
Parts Department
Secure Financing
Specials
Rentals
Dealer Info
About Us
Our Staff
Map & Hours
Photo Gallery
Customer Survey
Testimonials
Employment
Links
SxS Give-Away
Calender
Contact Us
Events
Parts Fiche
Home
›
Shopping
›
Parts Fiche
Search by :
Part / Desc
VIN
Please Select
Can-Am
Kawasaki
Ski-Doo
Yamaha
*Please enter at least 3 characters
SEARCH
Manufacturer
Ski-doo
Snowmobiles
2007
Legend Trail V800
VIEW WISH LIST
Select a Section
Show/Hide
00- Model Numbers
01- Cooling System
01- Crankcase
01- Crankshaft, Piston And Cylinder
01- Cylinder Head, Front
01- Cylinder Head, Rear
01- Engine And Engine Support
01- Engine Cooling
01- Engine Lubrication
01- Exhaust System
01- Intake Manifold And Throttle Body
02- Air Intake System
02- Fuel System
03- Magneto
05- Drive System 1
05- Drive System 2
05- Pulley System
06- Hydraulic Brakes
07- Front Suspension And Ski
07- Front Suspension And Ski EUR
07- Steering System
08- Front Arm Trail
08- Rear Arm Trail
08- Rear Suspension Shocks Trail
08- Rear Suspension Trail
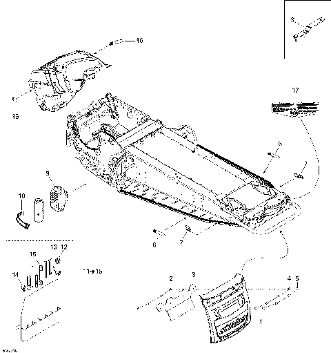
09- Bottom Pan
09- Decals
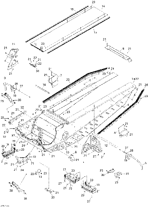
09- Frame and Components
09- Frame Trail
09- Hood
09- Luggage Rack Trail
09- Seat 1
09- Utilities Trail
10- Battery And Starter
10- Electrical Accessories
10- Electrical Harness
10- Electrical Harness Hood
10- Engine Harness And Electronic Module
10- Steering Wiring Harness
00- Model Numbers
01- Cooling System
01- Crankcase
01- Crankshaft, Piston And Cylinder
01- Cylinder Head, Front
01- Cylinder Head, Rear
01- Engine And Engine Support
01- Engine Cooling
01- Engine Lubrication
01- Exhaust System
01- Intake Manifold And Throttle Body
02- Air Intake System
02- Fuel System
03- Magneto
05- Drive System 1
05- Drive System 2
05- Pulley System
06- Hydraulic Brakes
07- Front Suspension And Ski
07- Front Suspension And Ski EUR
07- Steering System
08- Front Arm Trail
08- Rear Arm Trail
08- Rear Suspension Shocks Trail
08- Rear Suspension Trail
09- Bottom Pan
09- Decals
09- Frame and Components
09- Frame Trail
09- Hood
09- Luggage Rack Trail
09- Seat 1
09- Utilities Trail
10- Battery And Starter
10- Electrical Accessories
10- Electrical Harness
10- Electrical Harness Hood
10- Engine Harness And Electronic Module
10- Steering Wiring Harness
VIEW WISH LIST