340 N. Milburn Rd.
,
Fairview, UT
84629
Get Financed Now
(435) 427-3338
Toggle navigation
Fairview, UT
Home
Inventory
In-Stock Inventory
Pre-Owned Inventory
Manufacturer Models
Can-Am
Ski-Doo
Lynx
Kawasaki
Yamaha
CFMOTO
Segway
Vanderhall
Trailers
Bicycles
OEM Promotions
Value Your Trade
Shopping
Shop At Big Pine
Catalogs
Ruthless Motor Sports
Shopping Cart
Parts Fiche
Services
Service Department
Parts Department
Secure Financing
Specials
Rentals
Dealer Info
About Us
Our Staff
Map & Hours
Photo Gallery
Customer Survey
Testimonials
Employment
Links
SxS Give-Away
Calender
Contact Us
Events
Parts Fiche
Home
›
Shopping
›
Parts Fiche
Search by :
Part / Desc
VIN
Please Select
Can-Am
Kawasaki
Ski-Doo
Yamaha
*Please enter at least 3 characters
SEARCH
Manufacturer
Kawasaki
Utility Vehicles
2024
MULE PRO-FXR™ 1000 LE (KAF1000NRFNL)
VIEW WISH LIST
Select a Section
Show/Hide
Air Cleaner
Air Cleaner-Belt Converter
Brake Pedal/Throttle Lever
Cables
Camshaft(s)/Tensioner
Carrier(s)
Chassis Electrical Equipment
Control
Converter Cover
Crankcase
Crankshaft
Cylinder Head
Cylinder Head Cover
Cylinder/Piston(s)
Decals
Decals(NRFNN/NRFNL)
Door
Drive Converter
Drive Shaft-Front
Drive Shaft-Propeller
Drive Shaft-Rear
Driven Converter/Drive Belt
Engine Cover(s)
Engine Mount
Frame
Frame Fittings(Front)
Frame Fittings(Front)(NRFNN-NSSNL)
Frame Fittings(Rear)
Frame(NRFNN-NSSNL)
Front Box
Front Brake
Front Fender(s)
Front Hubs/Brakes
Front Suspension
Fuel Evaporative System(CA)
Fuel Injection
Fuel Pump
Fuel Tank
Gear Box
Gear Change Mechanism
Generator
Guard(s)
Guards/Cab Frame
Headlight(s)
Ignition Switch
Ignition System
Labels
Master Cylinder
Meter(s)
Muffler(s)
Oil Pan
Oil Pump/Oil Filter
Other
Other(NRFNN-NSSNL)
Radiator
Rear Brake
Rear Hubs/Brakes
Rear Suspension
Reflectors(CN)
Seat
Shock Absorber(s)
Starter Motor
Steering Shaft
Steering Wheel
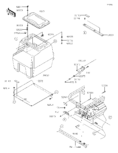
Sun Top
Taillight(s)
Throttle
Transmission
Valve(s)
Water Pump
Wheels/Tires
Air Cleaner
Air Cleaner-Belt Converter
Brake Pedal/Throttle Lever
Cables
Camshaft(s)/Tensioner
Carrier(s)
Chassis Electrical Equipment
Control
Converter Cover
Crankcase
Crankshaft
Cylinder Head
Cylinder Head Cover
Cylinder/Piston(s)
Decals
Decals(NRFNN/NRFNL)
Door
Drive Converter
Drive Shaft-Front
Drive Shaft-Propeller
Drive Shaft-Rear
Driven Converter/Drive Belt
Engine Cover(s)
Engine Mount
Frame
Frame Fittings(Front)
Frame Fittings(Front)(NRFNN-NSSNL)
Frame Fittings(Rear)
Frame(NRFNN-NSSNL)
Front Box
Front Brake
Front Fender(s)
Front Hubs/Brakes
Front Suspension
Fuel Evaporative System(CA)
Fuel Injection
Fuel Pump
Fuel Tank
Gear Box
Gear Change Mechanism
Generator
Guard(s)
Guards/Cab Frame
Headlight(s)
Ignition Switch
Ignition System
Labels
Master Cylinder
Meter(s)
Muffler(s)
Oil Pan
Oil Pump/Oil Filter
Other
Other(NRFNN-NSSNL)
Radiator
Rear Brake
Rear Hubs/Brakes
Rear Suspension
Reflectors(CN)
Seat
Shock Absorber(s)
Starter Motor
Steering Shaft
Steering Wheel
Sun Top
Taillight(s)
Throttle
Transmission
Valve(s)
Water Pump
Wheels/Tires
VIEW WISH LIST