340 N. Milburn Rd.
,
Fairview, UT
84629
Get Financed Now
(435) 427-3338
Toggle navigation
Fairview, UT
Home
Inventory
In-Stock Inventory
Pre-Owned Inventory
Manufacturer Models
Can-Am
Ski-Doo
Lynx
Kawasaki
Yamaha
CFMOTO
Segway
Vanderhall
Trailers
Bicycles
OEM Promotions
Value Your Trade
Shopping
Shop At Big Pine
Catalogs
Ruthless Motor Sports
Shopping Cart
Parts Fiche
Services
Service Department
Parts Department
Secure Financing
Specials
Rentals
Dealer Info
About Us
Our Staff
Map & Hours
Photo Gallery
Customer Survey
Testimonials
Employment
Links
SxS Give-Away
Calender
Contact Us
Events
Parts Fiche
Home
›
Shopping
›
Parts Fiche
Search by :
Part / Desc
VIN
Please Select
Can-Am
Kawasaki
Ski-Doo
Yamaha
*Please enter at least 3 characters
SEARCH
Manufacturer
Kawasaki
Motorcycles
2022
VERSYS® 650 (KLE650HNFNN)
VIEW WISH LIST
Select a Section
Show/Hide
Accessory(Bag Fitting kit)
Accessory(Decals)
Accessory(Electrical)
Accessory(Engine Guard)
Accessory(Grip Heater)
Accessory(Hand Cover)
Accessory(LED Lamp)
Accessory(Oil Filler Cap)
Accessory(Safety and Security)
Accessory(Top case)
Accessory(Windshield)
Air Cleaner
Balancer
Brake Pedal
Brake Piping
Cables
Camshaft(s)/Tensioner
Chassis Electrical Equipment
Clutch
Cowling Lowers
Cowling(Center)
Cowling(Upper)
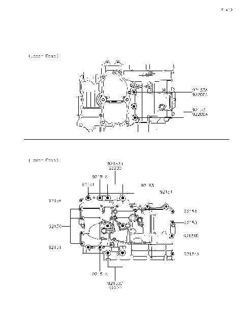
Crankcase
Crankcase Bolt Pattern
Crankshaft
Cylinder Head
Cylinder Head Cover
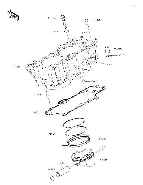
Cylinder/Piston(s)
Decals(HNFNN/HNFNL/HPFNN/HPFNL)
Engine Cover(s)
Engine Mount
Footrests
Frame
Frame Fittings
Front Brake
Front Fender(s)
Front Fork
Front Hub
Front Master Cylinder
Fuel Evaporative System(CA)
Fuel Injection
Fuel Pump
Fuel Tank
Gear Change Drum/Shift Fork(s)
Gear Change Mechanism
Generator
Handlebar
Headlight(s)
Ignition Switch
Ignition System
Labels
Meter(s)
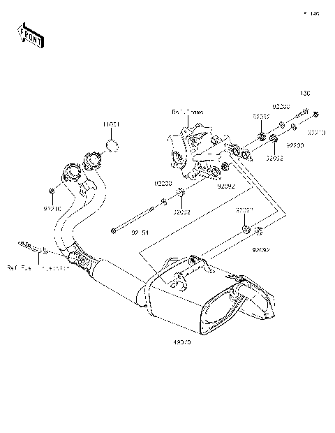
Muffler(s)
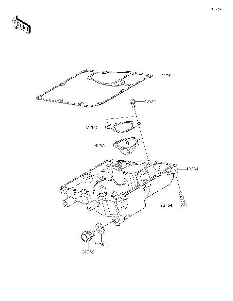
Oil Pan
Oil Pump
Owner's Tools
Radiator
Rear Brake
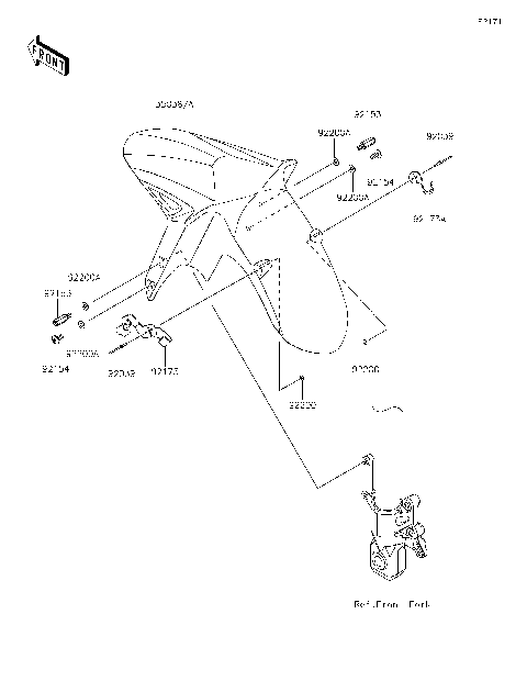
Rear Fender(s)
Rear Hub
Rear Master Cylinder
Seat
Seat Cover
Side Covers/Chain Cover
Stand(s)
Starter Motor
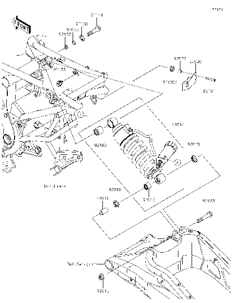
Suspension/Shock Absorber
Swingarm
Taillight(s)
Throttle
Transmission
Turn Signals
Valve(s)
Water Pipe
Water Pump
Wheels/Tires
Accessory(Bag Fitting kit)
Accessory(Decals)
Accessory(Electrical)
Accessory(Engine Guard)
Accessory(Grip Heater)
Accessory(Hand Cover)
Accessory(LED Lamp)
Accessory(Oil Filler Cap)
Accessory(Safety and Security)
Accessory(Top case)
Accessory(Windshield)
Air Cleaner
Balancer
Brake Pedal
Brake Piping
Cables
Camshaft(s)/Tensioner
Chassis Electrical Equipment
Clutch
Cowling Lowers
Cowling(Center)
Cowling(Upper)
Crankcase
Crankcase Bolt Pattern
Crankshaft
Cylinder Head
Cylinder Head Cover
Cylinder/Piston(s)
Decals(HNFNN/HNFNL/HPFNN/HPFNL)
Engine Cover(s)
Engine Mount
Footrests
Frame
Frame Fittings
Front Brake
Front Fender(s)
Front Fork
Front Hub
Front Master Cylinder
Fuel Evaporative System(CA)
Fuel Injection
Fuel Pump
Fuel Tank
Gear Change Drum/Shift Fork(s)
Gear Change Mechanism
Generator
Handlebar
Headlight(s)
Ignition Switch
Ignition System
Labels
Meter(s)
Muffler(s)
Oil Pan
Oil Pump
Owner's Tools
Radiator
Rear Brake
Rear Fender(s)
Rear Hub
Rear Master Cylinder
Seat
Seat Cover
Side Covers/Chain Cover
Stand(s)
Starter Motor
Suspension/Shock Absorber
Swingarm
Taillight(s)
Throttle
Transmission
Turn Signals
Valve(s)
Water Pipe
Water Pump
Wheels/Tires
VIEW WISH LIST