340 N. Milburn Rd.
,
Fairview, UT
84629
Get Financed Now
(435) 427-3338
Toggle navigation
Fairview, UT
Home
Inventory
In-Stock Inventory
Pre-Owned Inventory
Manufacturer Models
Can-Am
Ski-Doo
Lynx
Kawasaki
Yamaha
CFMOTO
Segway
Vanderhall
Trailers
Bicycles
OEM Promotions
Value Your Trade
Shopping
Shop At Big Pine
Catalogs
Ruthless Motor Sports
Shopping Cart
Parts Fiche
Services
Service Department
Parts Department
Secure Financing
Specials
Rentals
Dealer Info
About Us
Our Staff
Map & Hours
Photo Gallery
Customer Survey
Testimonials
Employment
Links
SxS Give-Away
Calender
Contact Us
Events
Parts Fiche
Home
›
Shopping
›
Parts Fiche
Search by :
Part / Desc
VIN
Please Select
Can-Am
Kawasaki
Ski-Doo
Yamaha
*Please enter at least 3 characters
SEARCH
Manufacturer
Kawasaki
Motorcycles
2020
KX™65 (KX65ALF)
VIEW WISH LIST
Select a Section
Show/Hide
Accessory
Air Cleaner
Brake Pedal
Cables
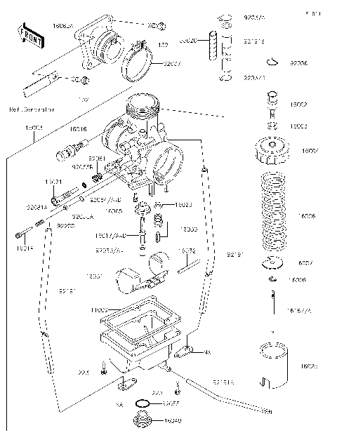
Carburetor
Clutch
Crankcase
Crankshaft/Piston(s)
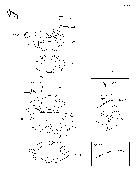
Cylinder Head/Cylinder
Engine Cover(s)
Engine Mount
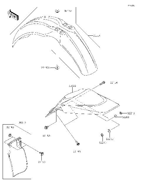
Fenders
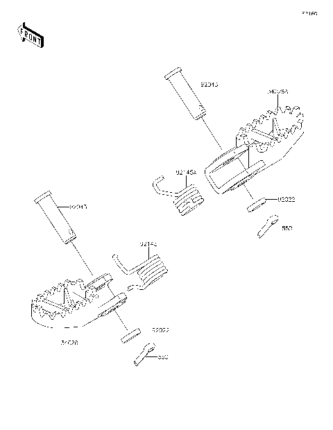
Footrests
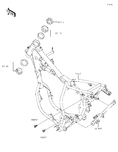
Frame
Front Brake
Front Fork
Front Hub
Front Master Cylinder
Fuel Tank
Gear Change Drum/Shift Fork(s)
Gear Change Mechanism
Generator
Handlebar
Ignition System
Kickstarter Mechanism
Labels
Muffler(s)
Owner's Tools
Radiator
Rear Brake
Rear Hub
Rear Master Cylinder
Rear Suspension
Seat
Shock Absorber(s)
Side Covers
Stand(s)
Swingarm
Transmission
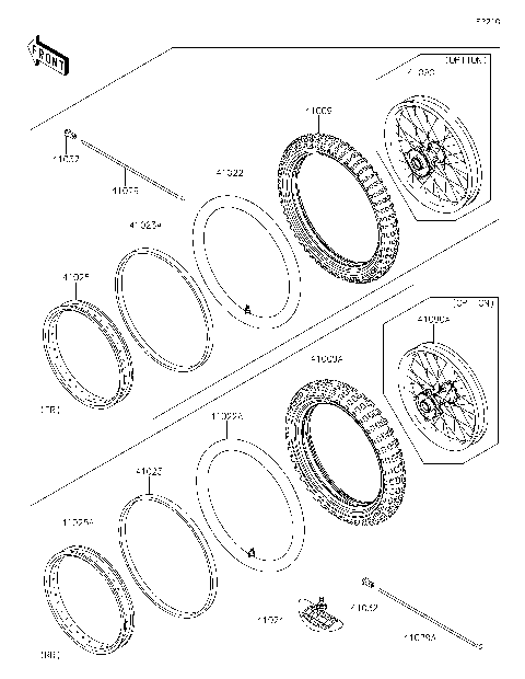
Wheels/Tires
Accessory
Air Cleaner
Brake Pedal
Cables
Carburetor
Clutch
Crankcase
Crankshaft/Piston(s)
Cylinder Head/Cylinder
Engine Cover(s)
Engine Mount
Fenders
Footrests
Frame
Front Brake
Front Fork
Front Hub
Front Master Cylinder
Fuel Tank
Gear Change Drum/Shift Fork(s)
Gear Change Mechanism
Generator
Handlebar
Ignition System
Kickstarter Mechanism
Labels
Muffler(s)
Owner's Tools
Radiator
Rear Brake
Rear Hub
Rear Master Cylinder
Rear Suspension
Seat
Shock Absorber(s)
Side Covers
Stand(s)
Swingarm
Transmission
Wheels/Tires
VIEW WISH LIST