340 N. Milburn Rd.
,
Fairview, UT
84629
Get Financed Now
(435) 427-3338
Toggle navigation
Fairview, UT
Home
Inventory
In-Stock Inventory
Pre-Owned Inventory
Manufacturer Models
Can-Am
Ski-Doo
Lynx
Kawasaki
Yamaha
CFMOTO
Segway
Vanderhall
Trailers
Bicycles
OEM Promotions
Value Your Trade
Shopping
Shop At Big Pine
Catalogs
Ruthless Motor Sports
Shopping Cart
Parts Fiche
Services
Service Department
Parts Department
Secure Financing
Specials
Rentals
Dealer Info
About Us
Our Staff
Map & Hours
Photo Gallery
Customer Survey
Testimonials
Employment
Links
SxS Give-Away
Calender
Contact Us
Events
Parts Fiche
Home
›
Shopping
›
Parts Fiche
Search by :
Part / Desc
VIN
Please Select
Can-Am
Kawasaki
Ski-Doo
Yamaha
*Please enter at least 3 characters
SEARCH
Manufacturer
Kawasaki
ATVs
2026
KFX50 (KSF50CTFNN)
VIEW WISH LIST
Select a Section
Show/Hide
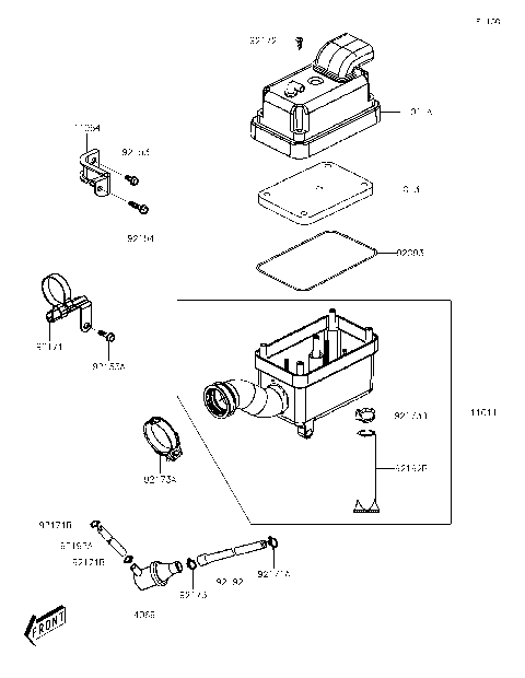
Air Cleaner
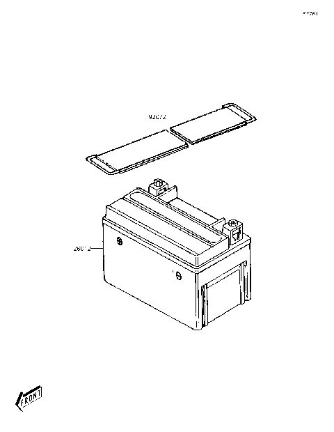
Battery
Belt Converter
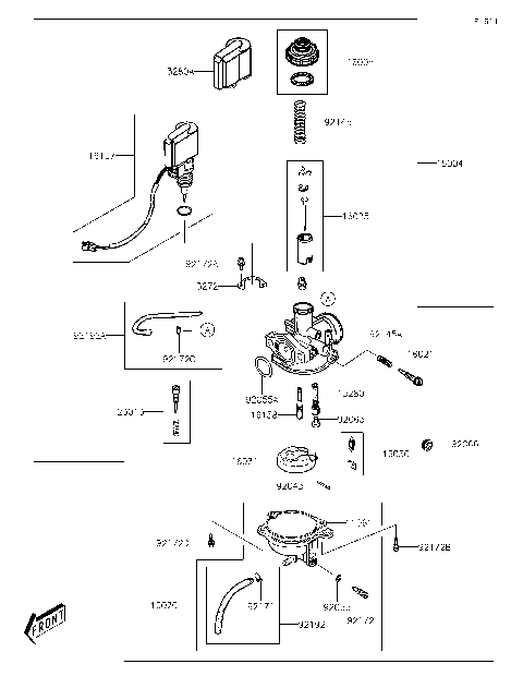
Carburetor
Chassis Electrical Equipment
Crankcase
Crankshaft/Piston(s)
Cylinder Head
Decals(Green)
Decals(White)
Engine Cover(s)
Frame
Front Fender(s)
Front Hub
Front Master Cylinder
Fuel Tank
Gear Change Drum/Shift Fork(s)
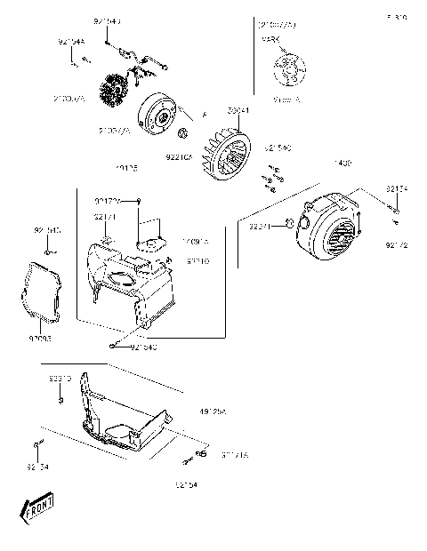
Generator
Handlebar
Kickstarter Mechanism
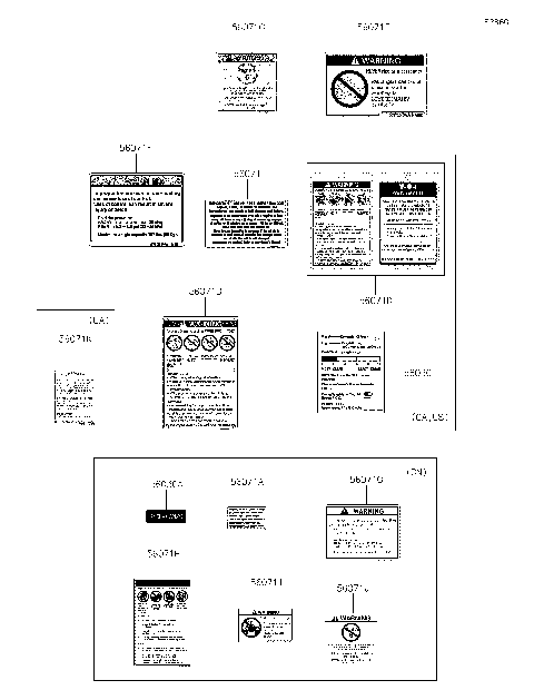
Labels
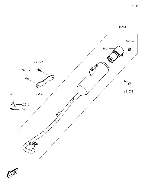
Muffler(s)
Rear Fender(s)
Rear Hub
Seat
Second Air
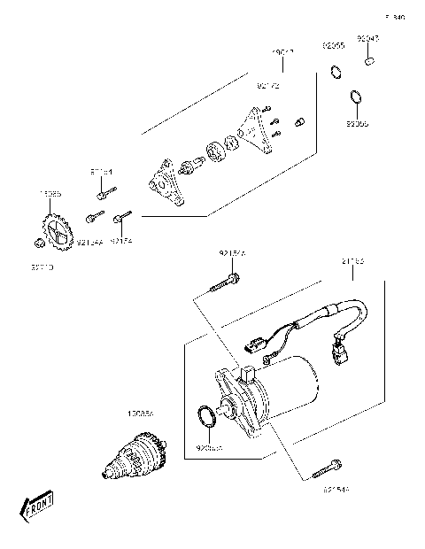
Starter Motor
Steering Shaft
Suspension
Taillight(s)
Air Cleaner
Battery
Belt Converter
Carburetor
Chassis Electrical Equipment
Crankcase
Crankshaft/Piston(s)
Cylinder Head
Decals(Green)
Decals(White)
Engine Cover(s)
Frame
Front Fender(s)
Front Hub
Front Master Cylinder
Fuel Tank
Gear Change Drum/Shift Fork(s)
Generator
Handlebar
Kickstarter Mechanism
Labels
Muffler(s)
Rear Fender(s)
Rear Hub
Seat
Second Air
Starter Motor
Steering Shaft
Suspension
Taillight(s)
VIEW WISH LIST