340 N. Milburn Rd.
,
Fairview, UT
84629
Get Financed Now
(435) 427-3338
Toggle navigation
Fairview, UT
Home
Inventory
In-Stock Inventory
Pre-Owned Inventory
Manufacturer Models
Can-Am
Ski-Doo
Lynx
Kawasaki
Yamaha
CFMOTO
Segway
Vanderhall
Trailers
Bicycles
OEM Promotions
Value Your Trade
Shopping
Shop At Big Pine
Catalogs
Ruthless Motor Sports
Shopping Cart
Parts Fiche
Services
Service Department
Parts Department
Secure Financing
Specials
Rentals
Dealer Info
About Us
Our Staff
Map & Hours
Photo Gallery
Customer Survey
Testimonials
Employment
Links
SxS Give-Away
Calender
Contact Us
Events
Parts Fiche
Home
›
Shopping
›
Parts Fiche
Search by :
Part / Desc
VIN
Please Select
Can-Am
Kawasaki
Ski-Doo
Yamaha
*Please enter at least 3 characters
SEARCH
Manufacturer
Can-Am
ATVs
2020
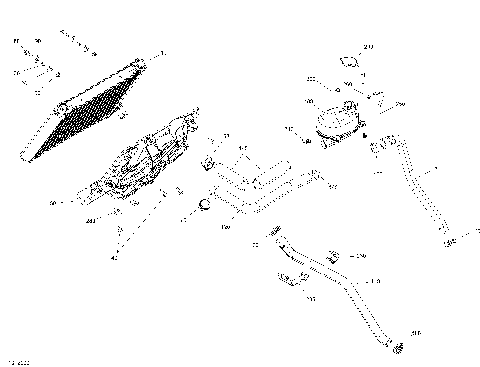
005 - Outlander T MAX 570 EFI - DPS_XT - T Regulation
VIEW WISH LIST
Select a Section
Show/Hide
00- Model Numbers
01- Cooling - System
01- Crankcase
01- Crankshaft, Piston And Cylinder
01- Cylinder Head, Front
01- Cylinder Head, Rear
01- Engine
01- Engine Cooling
01- Engine Lubrication
01- Exhaust
02- Air Intake
02- Air Intake Manifold And Throttle Body
02- Fuel
03- Magneto And Electric Starter
04- Drive - Final Drive Unit
05- Gear Box 1 - 420686216
05- Gear Box 2 - 420686216
05- Gear Box And Components 420686216
05- Transmission
06- Brakes
07- Front Drive - Common Parts
07- Front Drive - Differential Parts
07- Front Suspension
07- Steering
07- Wheels - DPS
07- Wheels - XT
08- Drive Shaft
08- Rear Drive - Common Parts
08- Rear Drive - Differential Parts
08- Rear Suspension
08- Shocks - DPS
08- Shocks - XT
09- Body - Front Section - DPS
09- Body - Front Section - XT
09- Body - Rear Section - DPS
09- Body - Rear Section - XT
09- Decals - DPS
09- Decals - XT
09- Fender Kit - Mineral Gray Satin
09- Fender Kit - Orange
09- Frame
09- Seat
10- Electrical System
10- Engine Harness And Electronic Module 450 & 570
10- Main Harness - 710006169 DPS XT
00- Model Numbers
01- Cooling - System
01- Crankcase
01- Crankshaft, Piston And Cylinder
01- Cylinder Head, Front
01- Cylinder Head, Rear
01- Engine
01- Engine Cooling
01- Engine Lubrication
01- Exhaust
02- Air Intake
02- Air Intake Manifold And Throttle Body
02- Fuel
03- Magneto And Electric Starter
04- Drive - Final Drive Unit
05- Gear Box 1 - 420686216
05- Gear Box 2 - 420686216
05- Gear Box And Components 420686216
05- Transmission
06- Brakes
07- Front Drive - Common Parts
07- Front Drive - Differential Parts
07- Front Suspension
07- Steering
07- Wheels - DPS
07- Wheels - XT
08- Drive Shaft
08- Rear Drive - Common Parts
08- Rear Drive - Differential Parts
08- Rear Suspension
08- Shocks - DPS
08- Shocks - XT
09- Body - Front Section - DPS
09- Body - Front Section - XT
09- Body - Rear Section - DPS
09- Body - Rear Section - XT
09- Decals - DPS
09- Decals - XT
09- Fender Kit - Mineral Gray Satin
09- Fender Kit - Orange
09- Frame
09- Seat
10- Electrical System
10- Engine Harness And Electronic Module 450 & 570
10- Main Harness - 710006169 DPS XT
VIEW WISH LIST