340 N. Milburn Rd.
,
Fairview, UT
84629
Get Financed Now
(435) 427-3338
Toggle navigation
Fairview, UT
Home
Inventory
In-Stock Inventory
Pre-Owned Inventory
Manufacturer Models
Can-Am
Ski-Doo
Lynx
Kawasaki
Yamaha
CFMOTO
Segway
Vanderhall
Trailers
Bicycles
OEM Promotions
Value Your Trade
Shopping
Shop At Big Pine
Catalogs
Ruthless Motor Sports
Shopping Cart
Parts Fiche
Services
Service Department
Parts Department
Secure Financing
Specials
Rentals
Dealer Info
About Us
Our Staff
Map & Hours
Photo Gallery
Customer Survey
Testimonials
Employment
Links
SxS Give-Away
Calender
Contact Us
Events
Parts Fiche
Home
›
Shopping
›
Parts Fiche
Search by :
Part / Desc
VIN
Please Select
Can-Am
Kawasaki
Ski-Doo
Yamaha
*Please enter at least 3 characters
SEARCH
Manufacturer
Can-Am
ATVs
2009
Outlander 800R EFI XT
VIEW WISH LIST
Select a Section
Show/Hide
00- Model Numbers XT
01- Cooling System
01- Crankcase
01- Crankshaft, Piston And Cylinder
01- Cylinder Head, Front
01- Cylinder Head, Rear
01- Engine And Engine Support
01- Engine Cooling
01- Engine Lubrication
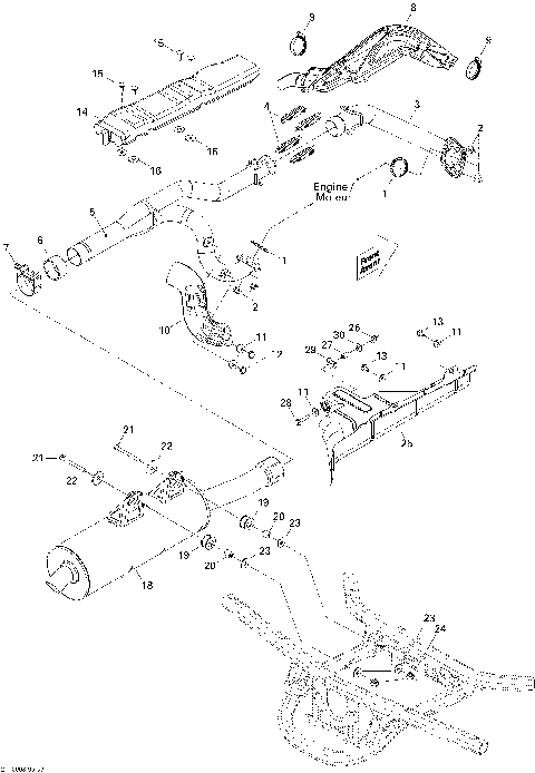
01- Exhaust System
01- Gear Box And Components
01- Gear Box Assy and 4x4 Actuator
01- Gear Box Output Shaft
02- Air Intake Manifold And Throttle Body
02- Air Intake Silencer
02- Fuel System
03- Magneto
05- Transmission Outlander
06- Hydraulic Brakes
07- Drive System, Front XT
07- Front Suspension XT
07- Steering XT
08- Drive Shaft
08- Drive System, Rear XT
08- Rear Suspension
09- Body And Accessories 1, XT
09- Body And Accessories 2, XT
09- Body And Accessories 3, XT
09- Body And Accessories 4, XT
09- Decals XT
09- Fender And Central Panel Kit XT
09- Frame
09- Front and Rear Trays XT
09- Seat
10- Electrical Accessories 1, XT
10- Electrical Accessories Euro
10- Electrical System XT
10- Engine Harness Outlander
10- Main Harness
99- ATV Publications
00- Model Numbers XT
01- Cooling System
01- Crankcase
01- Crankshaft, Piston And Cylinder
01- Cylinder Head, Front
01- Cylinder Head, Rear
01- Engine And Engine Support
01- Engine Cooling
01- Engine Lubrication
01- Exhaust System
01- Gear Box And Components
01- Gear Box Assy and 4x4 Actuator
01- Gear Box Output Shaft
02- Air Intake Manifold And Throttle Body
02- Air Intake Silencer
02- Fuel System
03- Magneto
05- Transmission Outlander
06- Hydraulic Brakes
07- Drive System, Front XT
07- Front Suspension XT
07- Steering XT
08- Drive Shaft
08- Drive System, Rear XT
08- Rear Suspension
09- Body And Accessories 1, XT
09- Body And Accessories 2, XT
09- Body And Accessories 3, XT
09- Body And Accessories 4, XT
09- Decals XT
09- Fender And Central Panel Kit XT
09- Frame
09- Front and Rear Trays XT
09- Seat
10- Electrical Accessories 1, XT
10- Electrical Accessories Euro
10- Electrical System XT
10- Engine Harness Outlander
10- Main Harness
99- ATV Publications
VIEW WISH LIST