340 N. Milburn Rd.
,
Fairview, UT
84629
Get Financed Now
(435) 427-3338
Toggle navigation
Fairview, UT
Home
Inventory
In-Stock Inventory
Pre-Owned Inventory
Manufacturer Models
Can-Am
Ski-Doo
Lynx
Kawasaki
Yamaha
CFMOTO
Segway
Vanderhall
Trailers
Bicycles
OEM Promotions
Value Your Trade
Shopping
Shop At Big Pine
Catalogs
Ruthless Motor Sports
Shopping Cart
Parts Fiche
Services
Service Department
Parts Department
Secure Financing
Specials
Rentals
Dealer Info
About Us
Our Staff
Map & Hours
Photo Gallery
Customer Survey
Testimonials
Employment
Links
SxS Give-Away
Calender
Contact Us
Events
Parts Fiche
Home
›
Shopping
›
Parts Fiche
Search by :
Part / Desc
VIN
Please Select
Can-Am
Kawasaki
Ski-Doo
Yamaha
*Please enter at least 3 characters
SEARCH
Manufacturer
Can-Am
ATVs
2008
DS 250 CVT
VIEW WISH LIST
Select a Section
Show/Hide
00- Model Numbers
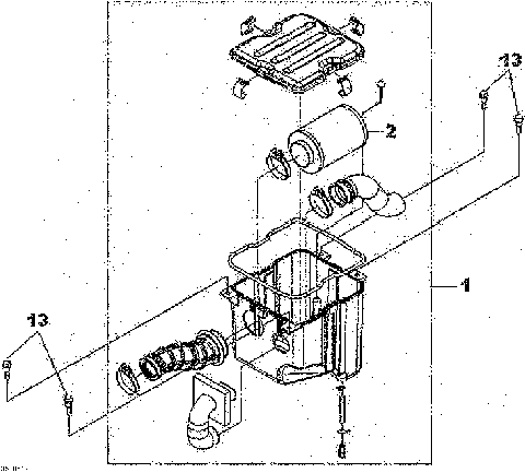
01- Air Cleaner
01- Air Injection System
01- Balance Shaft
01- Breather And Timing Chain
01- Cooling System
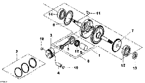
01- Crankshaft And Pistons
01- Cylinder
01- Cylinder Head and Valve
01- Cylinder Head Cover
01- Engine
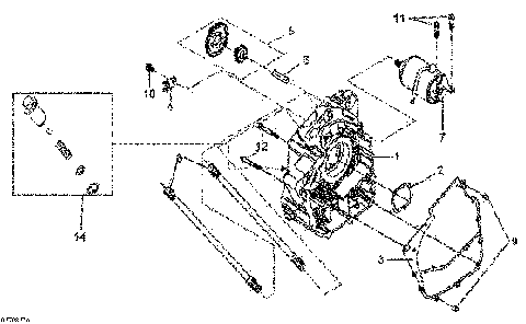
01- Gear Box
01- Left Crankcase Half
01- Muffler
01- Right Crankcase Half
02- Carburetor
02- Fuel System
02- Oil Pump
03- Magneto
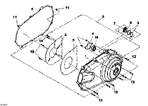
03- Magneto Cover and Water Pump
05- CVT Cover
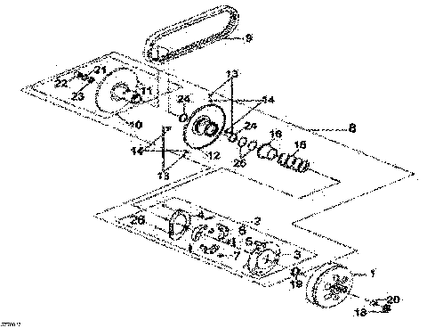
05- Drive Pulley
05- Driven Pulley
05- Gear Shift
06- Front Brake Europe, International
06- Front Brake North America
06- Rear Brake
07- Front Suspension
07- Handlebar Europe
07- Handlebar North America, International
07- Shocks
07- Steering Linkage Europe, International
07- Steering Linkage North America
07- Wheels And Tires
08- Drive Shaft
08- Rear Swing Arm
09- Frame Europe
09- Frame North America, International
09- Front Bumper And Footrests Europe
09- Front Bumper And Footrests North America, International
09- Front Fender
09- Hitch
09- Mirrors And Tools
09- Rear Fender Europe
09- Rear Fender International
09- Rear Fender North America
09- Rear Frame Europe
09- Rear Frame North America, International
09- Rear Reflectors North America, International
09- Seat
09- Steering Cover And Accessories, Europe
10- Electrical Components Europe
10- Electrical Components NA, INT
10- Flasher Lights Europe
10- Headlights America, International
10- Headlights Europe
99- ATV Publications
00- Model Numbers
01- Air Cleaner
01- Air Injection System
01- Balance Shaft
01- Breather And Timing Chain
01- Cooling System
01- Crankshaft And Pistons
01- Cylinder
01- Cylinder Head and Valve
01- Cylinder Head Cover
01- Engine
01- Gear Box
01- Left Crankcase Half
01- Muffler
01- Right Crankcase Half
02- Carburetor
02- Fuel System
02- Oil Pump
03- Magneto
03- Magneto Cover and Water Pump
05- CVT Cover
05- Drive Pulley
05- Driven Pulley
05- Gear Shift
06- Front Brake Europe, International
06- Front Brake North America
06- Rear Brake
07- Front Suspension
07- Handlebar Europe
07- Handlebar North America, International
07- Shocks
07- Steering Linkage Europe, International
07- Steering Linkage North America
07- Wheels And Tires
08- Drive Shaft
08- Rear Swing Arm
09- Frame Europe
09- Frame North America, International
09- Front Bumper And Footrests Europe
09- Front Bumper And Footrests North America, International
09- Front Fender
09- Hitch
09- Mirrors And Tools
09- Rear Fender Europe
09- Rear Fender International
09- Rear Fender North America
09- Rear Frame Europe
09- Rear Frame North America, International
09- Rear Reflectors North America, International
09- Seat
09- Steering Cover And Accessories, Europe
10- Electrical Components Europe
10- Electrical Components NA, INT
10- Flasher Lights Europe
10- Headlights America, International
10- Headlights Europe
99- ATV Publications
VIEW WISH LIST