340 N. Milburn Rd.
,
Fairview, UT
84629
Get Financed Now
(435) 427-3338
Toggle navigation
Fairview, UT
Home
Inventory
In-Stock Inventory
Pre-Owned Inventory
Manufacturer Models
Can-Am
Ski-Doo
Lynx
Kawasaki
Yamaha
CFMOTO
Segway
Vanderhall
Trailers
Bicycles
OEM Promotions
Value Your Trade
Shopping
Shop At Big Pine
Catalogs
Ruthless Motor Sports
Shopping Cart
Parts Fiche
Services
Service Department
Parts Department
Secure Financing
Specials
Rentals
Dealer Info
About Us
Our Staff
Map & Hours
Photo Gallery
Customer Survey
Testimonials
Employment
Links
SxS Give-Away
Calender
Contact Us
Events
Parts Fiche
Home
›
Shopping
›
Parts Fiche
Search by :
Part / Desc
VIN
Please Select
Can-Am
Kawasaki
Ski-Doo
Yamaha
*Please enter at least 3 characters
SEARCH
Manufacturer
Can-Am
ATVs
2007
Outlander 400 STD 4 X 4
VIEW WISH LIST
Select a Section
Show/Hide
00- Model Numbers STD
01- Cooling System
01- Crankcase
01- Cylinder
01- Cylinder Head
01- Engine And Engine Support
01- Engine Lubrication
01- Exhaust System
02- Air Intake
02- Carburetor
02- Fuel Tank
03- Magneto
04- Rewind Starter
05- Gear Shift
05- Transmission
06- Hydraulic Brakes
07- Drive System, Front STD
07- Front Suspension
07- Steering System STD
08- Drive System, Rear STD
08- Rear Suspension
09- Body And Accessories 1, STD
09- Body And Accessories 2, STD
09- Body And Accessories 3, STD
09- Decals STD
09- Frame
09- Front and Rear Trays STD
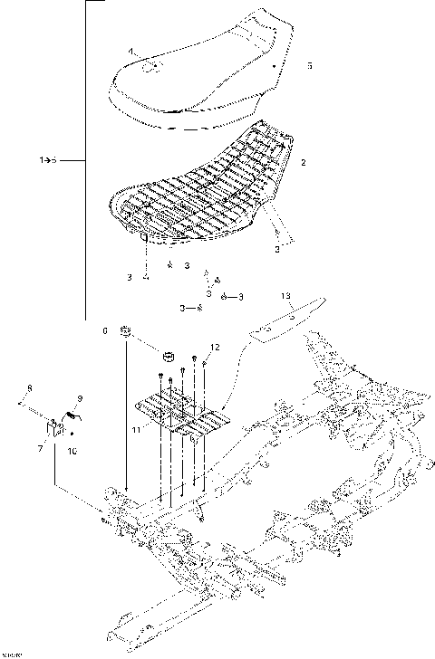
09- Seat
10- Electrical Accessories
10- Electrical Accessories Euro
10- Electrical System STD
10- Main Harness
10- Main Harness Euro
00- Model Numbers STD
01- Cooling System
01- Crankcase
01- Cylinder
01- Cylinder Head
01- Engine And Engine Support
01- Engine Lubrication
01- Exhaust System
02- Air Intake
02- Carburetor
02- Fuel Tank
03- Magneto
04- Rewind Starter
05- Gear Shift
05- Transmission
06- Hydraulic Brakes
07- Drive System, Front STD
07- Front Suspension
07- Steering System STD
08- Drive System, Rear STD
08- Rear Suspension
09- Body And Accessories 1, STD
09- Body And Accessories 2, STD
09- Body And Accessories 3, STD
09- Decals STD
09- Frame
09- Front and Rear Trays STD
09- Seat
10- Electrical Accessories
10- Electrical Accessories Euro
10- Electrical System STD
10- Main Harness
10- Main Harness Euro
VIEW WISH LIST